怎么樣使用百分表?三分鐘的視頻教會你如何使用百分表
本站之前發表過:百分表和千分表的使用方法,但是還是不夠具體,所以 今天 我們就來看看一個視頻, 學習一下百分表的使用。在精密鋼管的生產過程和檢驗過程中經常使用到百分表,有些精度要求高的甚至要用到千分表,為了讓大家對這兩種表的使用有更深入的了解,今天特整理資料如下,希望對百分表和千分表的使用方法有不明白的地方的人有所幫助。
百分表只能測出相對數值,不能測出絕對的數值,主要應用于檢測工件的形狀和位置誤差等,也可以用于校正零件的安裝位置及測量零件的內徑等,是一種精度高的比較量具。下小編來介紹一下百分表的使用方法與讀數方法。
1、結構
1)百分表的結構

2)杠桿百分表的結構

2. 使用方法及讀數
1)百分表的讀數
帶有測頭的測量桿,對刻度圓盤進行平行直線運動,并把直線運動轉變為回轉運動傳送到長針上,此長針會把測桿的運動量顯示到圓型表盤上。
長針的一回轉等于測桿的1mm,長指針可以讀到0.01mm。刻度盤上的轉數指針,以長針的一回旋(1mm)為一個刻度。

A、盤式指示器的指針隨量軸的移動而改變,因此測定只需讀指針所指的刻度,右圖為測量段的高度例圖,首先將測頭端子接觸到下段,把指針調到“0”位置,然后把測頭調到上段,讀指針所指示的刻度即可。
B、一個刻度是0.01mm,若長針指到10,臺階高差是0.1mm
C、量物若是4mm或5mm,長針會不斷地回轉時,最好看短針所指的刻度,然后加上長指針所指的刻度。

2)百分表的使用方法
A、測量面和測桿要垂直。
B、使用規定的支架。
C、測頭要輕輕地接觸測量物或方塊規。
D、測量圓柱形產品時,測桿軸線與產品直徑方向一致。

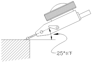
3)杠桿百分表的讀數及使用方法
A、杠桿百分表的分度值為0.01mm,測量范圍不大于1mm,它的表盤是對稱刻度的。
B、測量面和測頭,使用時須在水平狀態,在特殊情況下,也應該在258以下。
C、使用前,應檢查球形測頭,如果球形測頭已被磨出平面,不應再繼續使用。
D、杠桿百分表測桿能在正反方向上進行工作。根據測量方向的要求,應把換向器30搬到需要的位置上。
E、搬運測桿,可使測桿相對杠桿百分表殼體轉動一個角度。根據測量需要,應搬運測桿,使測量桿的軸線與被測零件尺寸變化方向垂直。


好了,讓我們一起來看看這個 百分表的教學視頻!


